Гидравлический биогазовый реактор
      
                - Простая структура:Гидравлический биогазовый реактор для производства кукурузных хлопьевВ основном состоит из бродильной камеры, гидравлической камеры, входного отверстия для подачи, разгрузочного отверстия и других частей. Он имеет относительно простую структуру, низкую сложность строительства и низкую стоимость, подходит для широкого использования в сельской местности.
- Простота в использовании:Гидравлический биогазовый реактор для производства кукурузных хлопьевПоддерживает определенное давление в биогазовом реакторе за счет эффекта водяного затвора водяной напорной камеры. При производстве газа биогаз выдавливает воду в водяную напорную камеру, а при использовании газа вода в водяной напорной камере выдавливает биогаз. Он прост в эксплуатации и не требует сложного оборудования и технологий.
- Высокая безопасность: при нормальной работе давление вГидравлический биогазовый реактор для производства кукурузных хлопьевотносительно стабилен, и существуют определенные защитные устройства, такие как предохранительные клапаны, которые могут эффективно предотвратить несчастные случаи, такие как утечка биогаза и взрыв.
- Сильная технологичность сырья:Гидравлический биогазовый реактор для кукурузных хлопьевМожет использовать кукурузные хлопья и другие сельскохозяйственные отходы в качестве ферментационного сырья, которое имеет широкий источник и низкую стоимость, а также позволяет добиться эффективного использования ресурсов и безвредной обработки отходов.
- Хорошие теплоизоляционные характеристики:Гидравлические биогазовые реакторы для кукурузных хлопьевКак правило, строятся под землей и меньше подвержены влиянию температуры наружного воздуха, что способствует поддержанию стабильной температуры в метантенке, обеспечивая более подходящую среду обитания для микроорганизмов, ферментирующих биогаз, и повышая эффективность производства газа.
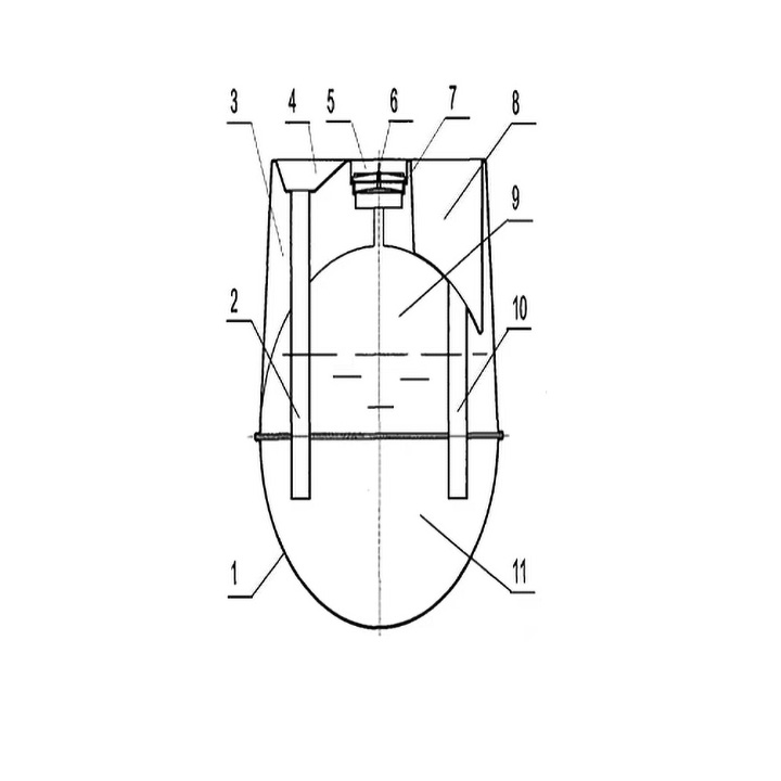
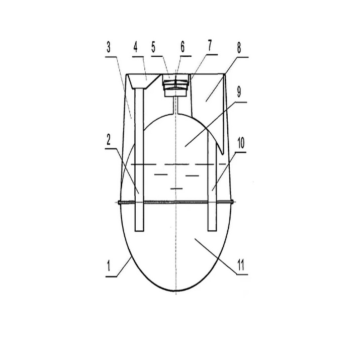
Структурное проектированиеГидравлический биогазовый реактор для кукурузных хлопьев
- Ферментационная камера: это основная часть биогазового реактора, используемая для хранения ферментационного сырья, такого как кукурузные хлопья, и обеспечивающая анаэробную среду брожения для микроорганизмов. Обычно он имеет цилиндрическую, сферическую или эллипсоидальную форму.
- Гидравлическое помещение: соединено с бродильным помещением. Когда биогаз производится в бродильной камере, давление газа увеличивается, и жидкость вдавливается в гидравлическое помещение. Когда газ используется, биогаз выгружается, и жидкость из гидравлического помещения течет обратно в помещение для брожения.
- Входное отверстие для подачи: расположенное с одной стороны биогазового резервуара, оно используется для подачи кукурузных хлопьев и другого ферментационного сырья, такого как фекалии человека и животных и т. Д. Как правило, он имеет форму трубы для удобства кормления.
- Разгрузочное отверстие: Оно может быть установлено на дне или сбоку биогазового бака для слива ферментированного остатка биогаза и жидкости для получения высококачественных удобрений для сельскохозяйственного производства.
Принцип работыГидравлический биогазовый реактор для кукурузных хлопьев
По мере того, как кукурузные хлопья и другое сырье ферментируются в ферментационной камере для производства биогаза, давление в биогазовом баке увеличивается, заставляя часть жидкости попадать в напорную камеру воды, в результате чего уровень жидкости в напорной камере воды повышается и образует разницу уровней воды; Когда газ используется, биогаз сбрасывается под действием давления воды, давление в биогазовом баке снижается, жидкость в напорной комнате воды течет обратно, разница уровней воды уменьшается, и цикл продолжается.
Гидравлический биогазовый реактор для кукурузных хлопьевЭксплуатационные параметры
- Скорость производства газа: При подходящих условиях ферментации, с кукурузными хлопьями в качестве основного сырья, скорость производства газа обычно может достигать 0,3-0,5 кубических метров/кубических метров·день.
- Температура брожения: Среднетемпературная ферментация обычно контролируется при 30-35°C, высокотемпературная ферментация - при 50-55°C, а на ферментацию при комнатной температуре влияет температура внешней среды.
- Значение pH: Значение pH ферментационной жидкости обычно контролируется в диапазоне 6,5-7,5, что способствует росту и метаболизму биогазовых микроорганизмов.
Гидравлический биогазовый реактор для кукурузных хлопьевТребования к сырью
- Кукурузные хлопья: Это основное сырье, обеспечивающее богатое углеводами и другими питательными веществами. Он нуждается в предварительной обработке, такой как дробление и замачивание, чтобы увеличить площадь контакта между сырьем и микроорганизмами и повысить эффективность ферментации.
- Инокулянты: Можно использовать активный ил и навоз скота на дне биогазового реактора. Они содержат большое количество микроорганизмов биогаза, что позволяет ускорить скорость запуска ферментации и повысить эффективность производства газа.
- Другое сырье: его можно сочетать с навозом человека и животных, соломой и т. д., чтобы регулировать соотношение углерода и азота и обеспечить комплексные питательные вещества для роста микробов.
Гидравлический биогазовый реактор для кукурузных хлопьеввспомогательное оборудование
- Десульфуризатор: используется для удаления вредных газов, таких как сероводород в биогазе, защиты биогазовых плит, ламп и другого оборудования, а также продления срока их службы.
- Манометр: устанавливается на биогазовом реакторе или газопроводе, используется для контроля изменений давления в биогазовом реакторе, чтобы вовремя определить рабочее состояние биогазового реактора.
- Биогазовые плиты и лампы: выберите подходящие биогазовые плиты и лампы в соответствии с фактическими потребностями в приготовлении пищи, освещении и т. д.
Установка и обслуживаниеГидравлический биогазовый метантенк для кукурузных таблеток
- Установка: Выберите место с высокой местностью, сухостью, равниной и вдали от источников огня и зданий для строительства биореактора и выполните строительные операции, такие как рытье котлованов, заливка и установка в соответствии с требованиями проекта, чтобы обеспечить герметичность и структурную стабильность варочного котла.
- Техническое обслуживание: Регулярно проверяйте герметичность метантенка, прочность соединения трубопровода, следите за изменениями значения манометра, своевременно пополняйте сырье для брожения и регулярно очищайте дигестат и жидкость в выпускном отверстии, чтобы обеспечить нормальную работу дигестата.

 
                                            
                                                                                        
                                         
                                            
                                                                                        
                                         
                                            
                                                                                        
                                         
                                            
                                                                                        
                                        




 
                   
                   
                  
